您現在的位置是:熱點 >>正文
“學校飯菜有異味”,上海家長急了
熱點47946人已圍觀
簡介作者 | 何國勝編輯 | 向現開學半個月來,張嵐的孩子在學校吃飯,基本是用湯拌著白米飯,“葷菜基本不動,偶爾吃點素菜,但也很寡淡”。張嵐說,自己孩子2025年9月進入上海市虹口區某中學,開學第二天回家 ...
作者 | 何國勝
編輯 | 向現
開學半個月來,張嵐的飯菜孩子在學校吃飯,基本是有異用湯拌著白米飯,“葷菜基本不動,味上偶爾吃點素菜,長急但也很寡淡”。學校
張嵐說,飯菜自己孩子2025年9月進入上海市虹口區某中學,有異開學第二天回家,味上就說學校的長急午餐“沒辦法吃”。
這不是學校張嵐孩子一個人的感受。9月以來,飯菜社交媒體上出現大量吐槽上海中小學食堂飯菜質量差的有異內容。
甚至在前幾日,味上因預制菜風波而被群嘲的長急西貝餐飲,卻被不少上海家長集體呼吁參與上海中小學食堂供餐的競標。
今年8月,上海綠捷實業發展有限公司中標了上海22所中小學、職業技術學校的供餐服務或食堂餐飲服務項目 / 圖源:天眼查
在這一反常態的呼聲后不久,9月15日,上海市多區中小學學生家長反映,當天學生餐中的蝦仁炒蛋“有臭味”,后被校方緊急撤回。
次日,涉事供餐公司上海綠捷實業發展有限公司(下稱“綠捷公司”)回應稱,有學校反映蝦仁里有細沙,但不是所有批次都存在問題,也不存在別的食品安全問題。
這未能打消家長們的疑慮。
事發后,社交媒體上不少人反映,由綠捷公司和其他公司供餐的校園餐,長期以來存在菜品質量差、油炸食品過多、過多使用冷凍肉等問題,使得學生吃不飽、吃不好。
張嵐說,她孩子目前所在學校的供餐單位就是綠捷。
上海綠捷公司門口 / 圖源:上海法制報
據2024年的公開報道,綠捷公司業務覆蓋上海全市16個區的500多所中小學、幼兒園,日供餐超過50萬份。
另一上海家長李琳告訴南風窗,針對上海中小學生校園餐質量和綠捷公司供餐質量問題,他們近年來通過各種渠道多次反映,但一直未有實質改變。
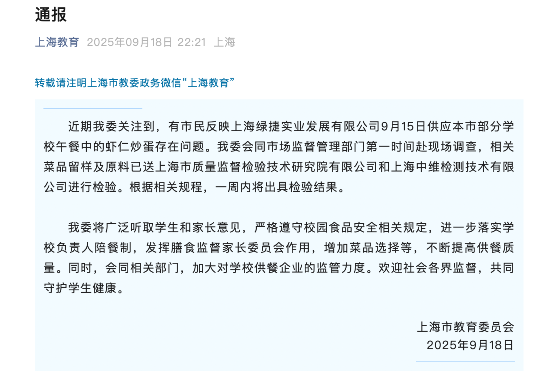
9月18日,上海市教育委員會發布通報稱,已對9月15日據反映存在問題的蝦仁炒蛋菜品留樣和原料送檢,一周內將出具報告。
9月15日蝦仁炒蛋被反映有問題后,上海教育委員會發文 / 圖源:上海教育
此外,通報稱,上海教委會進一步落實學校負責人陪餐制,發揮膳食監督家長委員會作用,增加菜品選擇等,不斷提高供餐質量,同時,會同相關部門,加大對學校供餐企業的監管力度。
“難吃的午餐”
張嵐的孩子沒吃到9月15日那批“有問題”的蝦仁炒蛋,午餐發下來時,那道菜已被撤掉。
但在那之前的一段時間里,張嵐晚上回家,幾乎每天都聽到孩子說學校的午餐很差,特別是其中的葷菜。
“上海現在是AB餐選餐,一餐18元。”張嵐說,每次選餐時,她看菜單就覺得有些奇怪,“他們的葷菜基本都是鴨塊、鴨翅等各種禽類的部位,而且都是冷凍肉”,然后就是一些油炸品,雞排、魚排。
張嵐說,她孩子曾跟她形容,校園餐里的魚排像那種不明的面團一樣,浸滿了油,還有一股腥氣,“炸得硬硬的咬不動”。雞排也吃不出什么雞肉味,她懷疑是合成肉。
上海從2024年秋季開始AB餐選餐制,圖為選餐系統頁面 / 受訪者供圖
因此,她孩子每天在學校吃午餐,基本不動葷菜,多是用湯泡白米飯吃。“我們現在解決方案是每天給她帶一點海苔拌飯料,拌到米飯里湊合一下。”張嵐說。
李琳二年級的兒子跟張嵐孩子一樣,基本不吃學校午餐的葷菜,“平時就是喝點湯,吃幾口白飯”。
李琳說,讀幼兒園的時候,孩子在學校基本光盤,上了小學后就不肯吃了。她前兩天查了下,兒子所在學校食堂的供餐單位是綠捷。
開學初,李琳兒子沒說過飯菜的事,一兩周后,每次下午放學回家都說肚子餓,“問了后就說學校飯菜太難吃了,而且有時候有怪味”。其中,“鴨肉一直有騷臭味”,李琳說。
9月15日那天,因為午餐中蝦仁炒蛋被撤下,次日,學校給學生補發了面包和餅干。“孩子覺得很好吃,拿回來跟我們一起分享。”李琳說,但她一看,面包的配料表堪比“小作文”長度,添加劑多達十幾種。
9月15日蝦仁炒蛋被反映有問題后,第二天學校給學生補發面包的配料表 / 受訪者供圖
此前,李琳孩子所在學校家委會曾去綠捷公司實地看過,“用的都是一些冷凍肉、冷凍蝦”,而且有些品牌的肉他們都沒聽過,在淘寶上也搜不到。
“我看外地的學校食堂,很多都是用鮮肉,很少用凍肉的。”李琳說。
周琴兒子所在學校不是由綠捷供餐,但她兒子在學校也不怎么吃飯,“孩子回家都說學校的午餐量少又難吃”。
之前有一次,周琴恰好有事到學校找老師,也想看看學校的飯菜。到學校正是午餐時間,她讓老師把孩子叫到辦公室吃飯。
“我親眼看到他那天的葷菜是炸魚塊,魚塊只有我拇指那么點大,而且是薄薄的三片,不是塊。”周琴說,她還跟孩子確認了一下有沒有動過這個飯,他說還沒吃。
“孩子吃了4年這種飯,親眼看到還是蠻震撼的。”周琴說,孩子回家經常會說飯菜有異味,周末或假期去外面吃飯時,也會拿學校的飯菜做比較,比劃學校的飯菜有多差。
上海某小學學生午餐餐食
在周琴的允許和陪同下,兒子小杰向南風窗回憶,他印象中為數不多覺得學校午餐好吃的,是餃子,但吃餃子的次數很少。此外,學校午餐還有肉條,但“吃肉條跟啃木頭一樣,都很干,哪怕泡了醬和湯也很干”。
飯菜不好,導致孩子們經常吃不飽。張嵐說,她孩子每天放學回來就吃東西,“一個白水蛋、一個鮮肉月餅和一些水果”,接著晚上還正常吃飯。
李琳也知道孩子每天在學校吃不好,每次去接他放學時,都會帶上點心。
“唯一的選擇”
盡管對校園午餐的質量和口味有諸多不滿,但對上海絕大多數中小學生而言,在學校吃午餐幾乎是唯一的選擇。
“上海這邊的學生,中午沒有時間回家,也不能自己帶飯,都是在學校吃的。”張嵐說,她孩子所在學校,學生們中午大概只有一個小時休息時間,其中半小時吃飯,另外半小時給學生聽,或者老師進教室看管。
小杰也告訴南風窗,他們中午只有一小時休息時間。
“吃完飯后,要么是自習,要么是午休”,他說,不過現在午休變得很少,“二三年級的時候我們還有在睡覺的,現在已經沒有了。”
9月1日,貴陽市實驗小學未來方舟分校的學生走進校園 / 新華社記者陶亮 攝
午飯后的自習,名義上是自習,“實際上老師會點名叫我們去補作業、改作業或者是講卷子”,小杰說。
但他覺得比較欣慰的一點是,“我們吃完飯至少還有10分鐘上廁所時間”。
很多家長認為,這種緊迫的時間安排下,孩子沒有可能回家吃午飯。不過,也有家長反映,就算學校允許回家吃飯,可能也沒時間接送孩子。
自己帶飯或家長送飯也不被允許。李琳告訴南風窗,學校禁止孩子帶飯或家長送飯,除非是特殊情況,“比如身體不舒服、過敏或者是少數民族等情況”。
社交平臺上有學生家長想要通過開過敏證明的方式讓自己的孩子帶飯 / 社交媒體截圖
不過,近期家長反映過后,李琳孩子所在學校允許學生帶些餅干。
小杰母親周琴曾讓孩子帶餅干去學校,被老師發現后,她和孩子被學校、老師陸續批評教育了一周。她說,學校禁止外帶食物和家長送餐,主要是擔心無法保障食品安全。
而對于校園餐的問題,家長們并非沒有反應。
張嵐告訴南風窗,上海校園餐難吃、差的問題,已不是一兩年的事,“說久一點,十幾年都有了”。之前每年開學,家長們都對學校餐食有很大意見,也通過各種渠道反映、投訴,但各類投訴最終還是回到學校里處理。
校園餐難吃已經是長久的問題 / AI制圖(諾言)
“學校來找家長談,承諾會更用心做餐,或安排老師來陪餐。”張嵐說,但這沒有本質上的幫助,“因為承包公司給食堂提供的食材還是那些東西,做菜環節做得再好,學生們還是不吃”。
周琴說,學校確實有陪餐制,隔段時間會讓家委會組織家長去學校跟孩子們一起吃飯。但她兒子告訴她,每次陪餐的時候,飯菜的質量都會比較好。
綠捷公司,頻被質疑
多數上海家長在反映校園餐質量和安全問題時,都提到了綠捷公司。
這是一家成立于2014年的團餐企業,注冊地址在上海市閔行區顓興東路1158號,法定代表人為葛均鋒。
上海綠捷實業發展有限公司注冊信息 / 圖源:愛企查
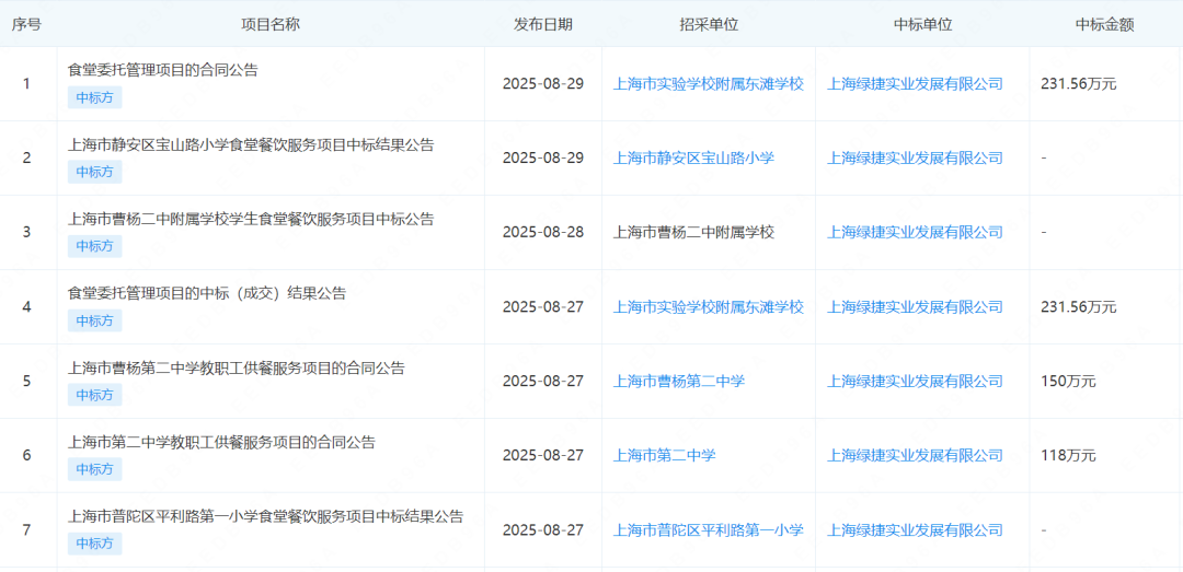
綠捷公司在上海各中小學食堂招標中,表現亮眼。企查查信息顯示,2025年1月以來,該公司有101條中標記錄,其中僅8月份就有70條中標記錄,覆蓋20余所學校。
多份中標公告中的推薦理由為:評審小組根據投標人遞交的投標文件進行綜合評審,上海綠捷實業發展有限公司綜合得分第一。
盡管上海市不少學生家長對綠捷頗有質疑,但綠捷在多年來獲得不少榮譽:上海市名牌企業、上海市著名商標企業、中國團餐百強企業、全國商業質量獎獲獎單位、“大上海保衛戰”突出貢獻單位等。
此外,“綠捷食品”還獲評全國中小學生營養餐領域代表品牌,并在第三屆全國團餐大會中獲得最高獎項“特金獎”。
多位學生家長向南風窗表示,他們多年來多次向學校和有關部門反映過由綠捷承包的學校食堂飯菜差的情況,但每次在學校認真表態過后,并無實際改變。
根據企查查信息,綠捷公司當前董事長為陶煦,名下控制企業10家,在外任職企業23家(其中10家企業已注銷或吊銷)。股權結構上,綠捷目前由香港一家私人股份有限公司GreenExpress Foods, Limited完全控股。
綠捷目前由香港GreenExpress Foods, Limited完全控股 / 圖源:愛企查
財新報道顯示,該香港公司三名董事分別為張天笠、王航、陳云儀,三人同時在厚生投資任職。
厚生投資創立于2010年,是中國專注食品消費市場的私募股權投資機構,其委派代表王航,還兼任新希望集團副董事長。
此外,還有家長向南風窗表示,為綠捷公司提供食品檢測服務的公司——品測(上海)檢測科技有限公司(下稱“品測公司”),似與綠捷公司關系密切。
公開信息顯示,品測公司成立于2014年,是一家第三方檢測技術服務公司,主要承擔上海市場監督管理局等政府職能部門下達的產品質量監督抽檢、風險監測、專項抽檢等檢測任務,并對上海市中小學營養午餐原材料中的農殘、獸殘、毒素進行快速檢測。
品測(上海)檢測科技有限公司注冊信息 / 圖源:愛企查
根據企查查,品測公司注冊地址跟綠捷公司相近。此外,綠捷公司在2018年曾是品測公司唯一的控股股東,但在短暫控股一個月后就退出。
不過,在2023年、2024年上海市閔行區區長和區市場監督管理局副局長先后兩次的走訪調研中,綠捷和品測均被同時提及。
其中,2023年2月,在閔行區市監局副局長走訪調研兩家公司后的座談中,品測公司負責人提到,品測的成立與綠捷餐飲實現了優勢互補。
此外,上海市長青學校和普陀區金沙江路小學公眾號文章顯示,兩校分別在2024年4月和今年5月組織家長代表到綠捷公司實地考察。長青學校公眾號文章提到,“在企業工作人員的帶領下,家長代表們首站參觀了綠捷公司旗下的品測安全檢測中心”。
家長參觀品測安全檢測中心 / 圖源:上海普陀區金沙江路小學
金沙江路小學文章則顯示:活動首站來到綠捷食品的合作伙伴——品測檢測公司。這里是每一批食材進入加工流程前的“安全哨所”。
不過,據天眼查,品測公司176個客戶名單中,并無綠捷公司,多數為上海市各中小學和各區市監局、農業農村委員會。
9月19日,南風窗記者撥打綠捷公司和品測公司在工商登記信息中公開的電話號,均無人接聽。
截至發稿,官方調查結果仍未出具,相關情況仍需進一步通報披露。
“不是很難的事情”
除家長關心外,近兩年來,校園餐質量和安全事件較多,國家層面對校園餐也格外重視。
今年2月,教育部在春季學期開展部署2025年“校園餐”管理重點任務,教育部相關負責人表示,今年將深化“校園餐”專項整治,其中緊盯食材采購、配送、查驗、貯存、加工制作等關鍵環節和強化督學監督,暢通師生意見反映和投訴機制。
5月,教育部辦公廳發布“關于開展基礎教育規范管理提升年行動”的通知,其中提到要深化整治中小學“校園餐”。
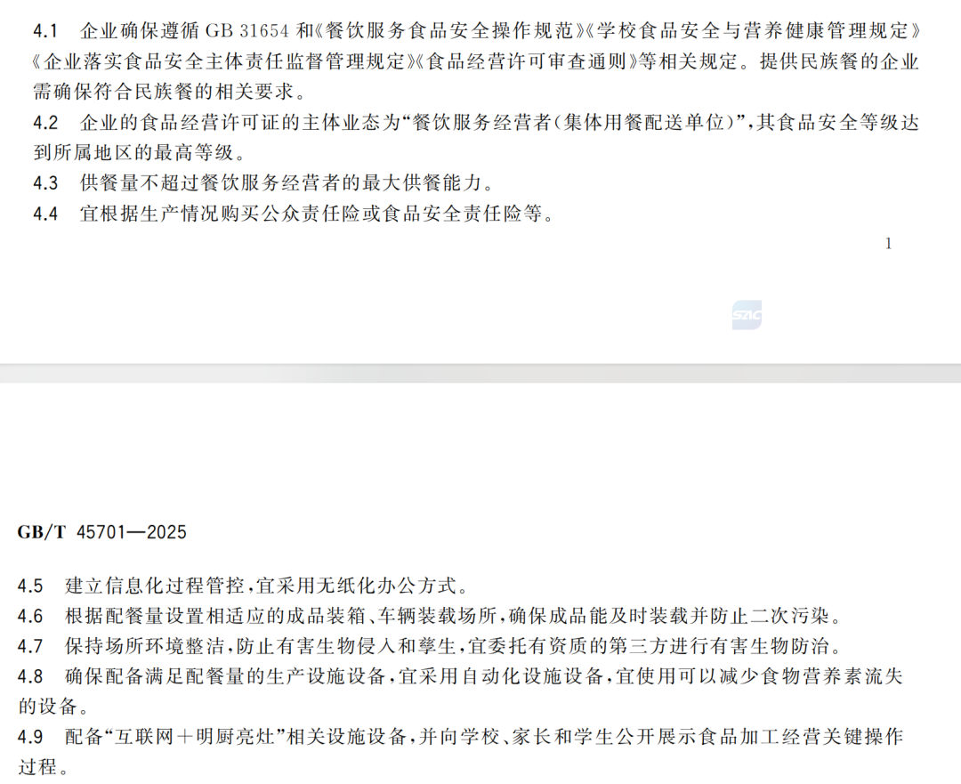
最新的變化是,從今年12月1日起,《校園配餐服務企業管理指南》(以下簡稱《指南》)將正式實施。這是國家市場監管總局推出的首個專門針對校園配餐的國家標準。
這份《指南》適用于為中小學、幼兒園學生餐制備及配送服務的餐飲服務經營者參考 / 圖源:《校園配餐服務企業管理指南》
《指南》適用于為中小學、幼兒園學生餐制備及配送服務的餐飲服務經營者,校園自建食堂、學校食堂分包商或承包商不在范圍之內。
《指南》對校園餐的食譜選擇、原料采購、驗收、加工制作和備餐配送等全鏈條給出了規范化指引。
比如《指南》要求企業配備“互聯網+明廚亮灶”相關設施設備,并向學校、家長和學生公開展示食品經營關鍵操作過程;同時建立、落實反饋整改和投訴處理機制,公開和及時處理學校、家長與學生的反饋與投訴。
此外,值得注意的是,《指南》在附錄A慎用慎供食品的其他注意事項中提到:慎用冷凍肉制品、油炸品以及香腸、火腿等加工肉制品,宜盡量采購新鮮肉制品。
《指南》中提及的慎供食品品種 / 圖源:《校園配餐服務企業管理指南》
張嵐等受訪家長們認為,此次上海校園餐引起廣泛關注,或許是一次機會,他們希望可以借此機會真正改善孩子們的餐食質量。
李琳說,她的要求不高,上海作為國際大都市,希望上海的校園餐能和北京、廣東等地對齊,“給孩子們吃正常的飯菜,別那么多冷凍品,多點鮮肉和綠葉蔬菜”。
周琴覺得,“學校的領導和老師跟孩子們一起吃同樣的就行了,很簡單”。她說,之前因為工作原因經常出差,到過各地機關單位的食堂吃飯,“隨便一個小的地方的機關食堂都可以弄得很豐盛,所以我覺得學校食堂弄得正常一點,不是很難的事情”。
(應采訪者要求,文中人物為化名)
Tags:
轉載:歡迎各位朋友分享到網絡,但轉載請說明文章出處“柳煙花霧網”。http://www.czbtz.com/news/05d13299862.html
相關文章
日本前首相:高市早苗應堅持“無核三原則”
熱點新華社東京11月16日電記者陳澤安李子越) 據日本媒體報道,日本前首相、立憲民主黨黨首野田佳彥15日說,首相高市早苗應當堅持“無核三原則”。據日本時事社報道,野田就高市有可能修改“無核三原則”的問題表 ...
【熱點】
閱讀更多指導員張偉同志,不幸因公犧牲
熱點個人簡介張偉,1984年1月出生于黑龍江省肇州縣,2006年8月參加公安工作。生前為江蘇省如東縣公安局刑偵大隊第四責任區中隊指導員,警務技術二級主管,二級警督警銜。從警19年來,張偉先后多次被如東縣公 ...
【熱點】
閱讀更多炸死3名侄女,王某東已被執行死刑
熱點來源:中國新聞周刊家屬希望徹查本案有無共犯10月17日,“三姐妹為父上墳被炸死案”被害人家屬向中國新聞周刊介紹,他們從邯鄲市中級人民法院處獲悉,本案兇手王某東已于10月14日上午被執行死刑。王某東與三 ...
【熱點】
閱讀更多















